.jpg)
產品詳情
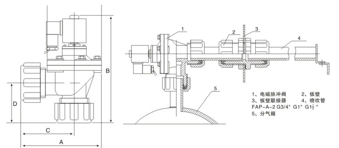
該電磁脈沖閥連接方式為外螺紋速接式,更換方便,具有靈敏度高、排氣量大、工作穩定的性能,而且具有安裝、使用、維修方便的特點.
工作原理:
膜片把電磁脈沖閥分成前、后二個氣室,當接通壓縮空氣時,壓縮空氣通過節流孔進入后氣室,此時后氣室壓力將膜片組件緊貼閥的輸出口,電磁脈沖閥處于“關閉”狀態。
DMF-ZM-20電磁脈沖閥技術指標:
工作壓力:0.4~0.7, 環境溫度:-10~55(℃), 使用介質:清潔空氣, 膜片壽命:噴吹100萬次以上。
連接口徑:ZG3/4", 重量:0.75kg
連接方式:速接
新疆天鑫京潤環保環保科技有限公司
聯系人:王經理
手機:18199190009
電話:0991-5313071
傳真:0991-5312888
郵件:wls2888@126.com
網址:http://www.hustbackup.cn/
地址:新疆烏魯木齊市米東工業園康莊西路2952號

掃一掃微信咨詢